For detailed information, other images and documents, please select individual articles from the following table.
Products
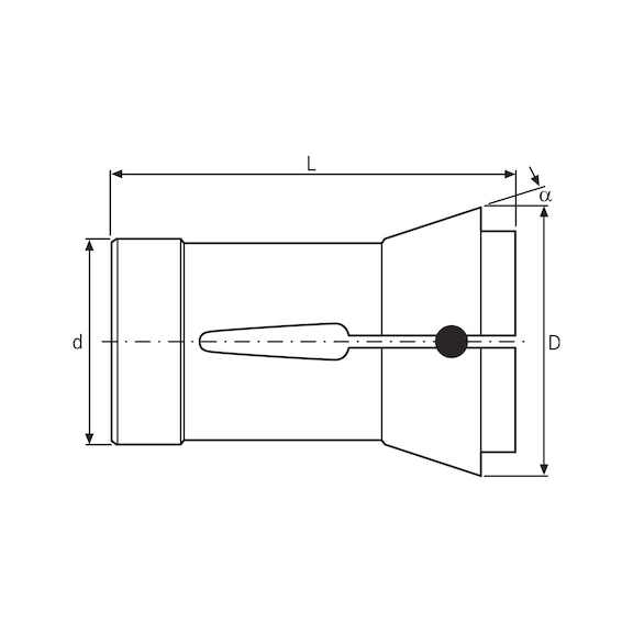
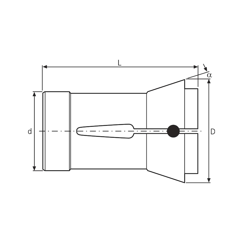
Execution
- hardened and ground
- clamping bridge max. 0.1 mm of the nominal diameter
- concentricity
- Ø 1-10 mm ≤ 20 µm
- Ø 11-30 mm ≤ 30 µm
- Ø 31-60 mm ≤ 40 µm
- up to Ø 8 mm smooth bore, from Ø 9 mm with crosswise grooves
Notes
Ref. no. 23354330-23354900 = collet chucks with round profile, available from Ø3 - 60 mm with 1.0 mm increments.
Tips for ordering:
5-digit item no. (23354) for collet chucks with round profile
Example: collet chuck Ø 14 mm = order no. 23354440
Select RAL-colour code
!! NOTE: On-screen visualisation of the colour differs from real colour shade!!
